
Danyang Tongzhou Rubber & Plastic Products Co., Ltd.
全国服务热线: 0511-86239900

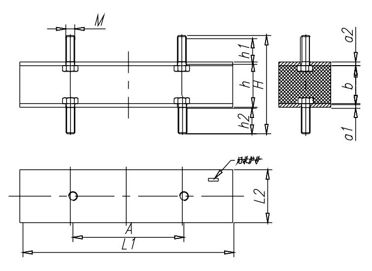
轿顶轮减震垫 | |||||||||||||
尺寸(1-3) | 硬度 | 弹性系数 (刚度) | 橡胶与钢板的粘合力 | ||||||||||
L1 | A | L2 | M | h1 | h | h2 | H | a2 | b | a1 | |||
220 | 150 | 70 | 12 | 35 | 60 | 35 | 130 | 5 | 50 | 5 | 50° ±5° | 1000~1200N/mm | ≥ 25kg/cm2 |
285 | 150 | 70 | 12 | 35 | 60 | 35 | 130 | 5 | 50 | 5 | 42° ±5° | 1000~1200N/mm | ≥ 25kg/cm2 |
350 | 150 | 70 | 12 | 35 | 60 | 35 | 130 | 5 | 50 | 5 | 37° ±5° | 1000~1200N/mm | ≥ 25kg/cm2 |
340 | 288 | 80 | 16 | 40 | 60 | 40 | 140 | 5 | 50 | 5 | 50° ±5° | 300kg/mm±10% | ≥ 25kg/cm2 |
220 | 165 | 60 | 16 | 55 | 50 | 45 | 150 | 5 | 40 | 5 | 50° ±5° | 300kg/mm±10% | ≥ 25kg/cm2 |