
Danyang Tongzhou Rubber & Plastic Products Co., Ltd.
全国服务热线: 0511-86239900

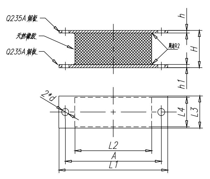
轿底减震垫(无簧) | |||||||||||
尺寸(1-4) | 硬度 | 变形量 | 弹性系数 (刚度) | 橡胶与钢板的粘 合力 | |||||||
L1 | A | L2 | L4 | 2×d | h2 | h1 | H | ||||
170 | 150 | 120 | 46 | 2×φ11 | 4 | 5 | 58 | 60° ±2.5° | 300kg6.2~7.5mm | ≥ 25kg/cm2 | |
170 | 150 | 120 | 46 | 2×φ11 | 4 | 4 | 58 | 52° ±3° | 1500N 3.5~4.1mm 5000N 11.5~12.1mm | ≥ 25kg/cm2 | |
170 | 140 | 100 | 44 | 2×φ11.5 | 3 | 3 | 50 | 50° ±5° | 405~492N/mm | ≥ 30kg/cm2 | |
170 | 140 | 100 | 55 | 2×φ11.5 | 3 | 3 | 50 | 63° ±5° | 784N/mm±10% | ≥ 30kg/cm2 | |